DESKRIPSI JABATAN
(JOB DESCRIPTION)
| IDENTIFIKASI | |||
|---|---|---|---|
| Kode | Revisi | Tanggal Pengesahan | |
| 004/AJ-Tel-U/II/SDM.3/2026 | 0 | ||
| Direktorat/Fakultas | Universitas Telkom | ||
| Bagian/Prodi | |||
| Urusan | |||
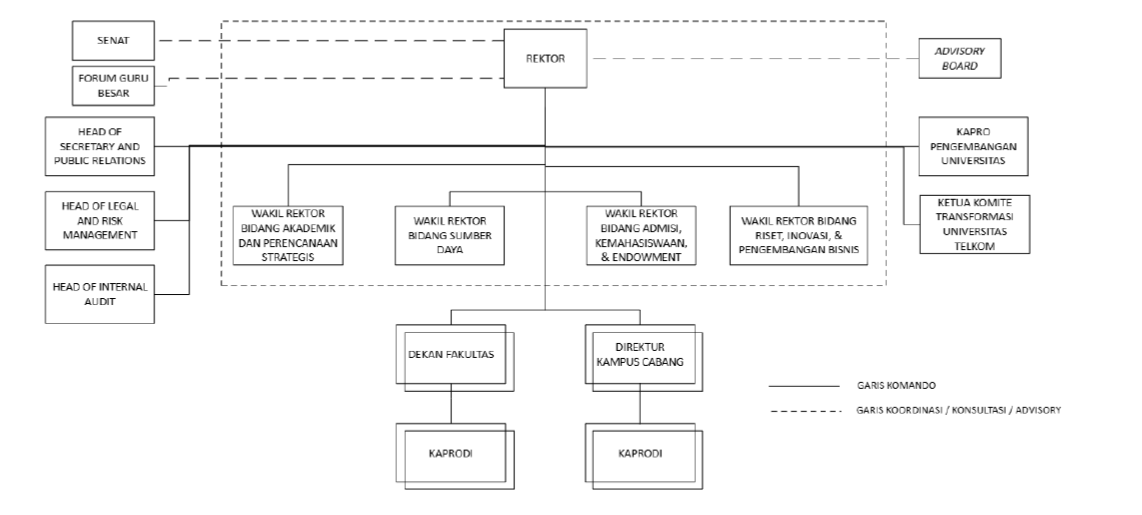
| Jabatan | Wakil Rektor Bidang Admisi, Kemahasiswaan, Dan Alumni | ||
| Kelompok Bidang | 1. |
||
| Atasan Langsung | |||
| Bawahan Langsung | |||
| IKHTISAR JABATAN | Memimpin Dan Mengoordinasikan Perumusan Serta Pelaksanaan Strategi Di Bidang Admisi, Kemahasiswaan, Alumni, Dan Pengelolaan Dana Abadi Guna Memastikan Kualitas Dan Daya Saing Mahasiswa, Pengalaman Belajar Yang Unggul, Serta Penguatan Jejaring Alumni Dan Industri. Jabatan Ini Berperan Dalam Mengintegrasikan Layanan Dan Program Secara Sinergis, Mendukung Internasionalisasi, Menjaga Keberlanjutan Pendanaan Institusi Melalui Pengelolaan Endowment Yang Prudent, Serta Memastikan Pencapaian Kinerja Yang Terukur Dan Berdampak Bagi Peningkatan Reputasi Universitas Secara Nasional Dan Global. | ||
| TUJUAN DAN TANGGUNG JAWAB |
1. Memastikan pengelolaan admisi, layanan kemahasiswaan, hubungan alumni, dan pengelolaan dana abadi berjalan secara terintegrasi, berkualitas, dan berdaya saing global untuk mendukung pencapaian visi dan strategi universitas. Dalam pelaksanaannya, jabatan ini bertanggung jawab menjamin kualitas dan keragaman mahasiswa baru, menciptakan pengalaman belajar yang inklusif dan kompetitif, memperkuat jejaring alumni dan industri, mengelola dana abadi secara aman dan berkelanjutan berbasis manajemen risiko, serta melakukan monitoring, evaluasi, dan penyusunan rekomendasi strategis berbasis data guna mendukung pengambilan keputusan pimpinan secara efektif dan akuntabel. |
||
| URAIAN TUGAS |
1. Merumuskan dan mengoordinasikan strategi admisi untuk memastikan kualitas, keragaman, dan kompetitivitas mahasiswa baru secara nasional dan internasional; 2. Mengelola layanan kemahasiswaan untuk memastikan pengalaman belajar yang inklusif, kompetitif, dan mendukung keberhasilan dan mahasiswa; 3. Mengarahkan pengembangan karier dan hubungan alumni untuk memperkuat jejaring industri dan reputasi universitas secara nasional dan internasional; 4. Menyelenggarakan koordinasi, pembinaan, dan pengendalian atas pengelolaan dana abadi melalui perencanaan, pengembangan, dan pemanfaatan yang dikelola dengan prinsip kehati-hatian serta berbasis manajemen risiko untuk menjamin keamanan aset dan keberlanjutan pendanaan institusi dengan tetap berkoordinasi dengan Yayasan melalui Rektor; 5. Mengembangkan strategi internasionalisasi pada fungsi admisi, kemahasiswaan, alumni, dan endowment untuk memperluas jejaring global dan meningkatkan reputasi universitas; 6. Mengoordinasikan sinergi lintas direktorat admisi, kemahasiswaan, alumni, dan endowment untuk memastikan efektivitas implementasi kebijakan serta keterhubungan program; 7. Melakukan monitoring, evaluasi, dan pengendalian kinerja untuk memastikan layanan admisi, kemahasiswaan, alumni, dan endowment memenuhi standar mutu nasional maupun internasional; dan 8. Menyusun laporan kinerja dan rekomendasi strategis berbasis data untuk meningkatkan efektivitas kebijakan dan mendukung keputusan Rektor. |
||
| WEWENANG | |||
| HUBUNGAN KERJA | INTERNAL | DALAM HAL | |
| EKSTERNAL | DALAM HAL | ||
| MASALAH DAN TANTANGAN KERJA | |||
| INDIKATOR KEBERHASILAN | |||
| NO | SUB-SUB KOMPETENSI | PROFICIENCY LEVEL (PL) | KEY INDICATOR |
| SPESIFIKASI JABATAN | |||
| STRUKTUR ORGANISASI | |||