DESKRIPSI JABATAN
(JOB DESCRIPTION)
| IDENTIFIKASI | |||
|---|---|---|---|
| Kode | Revisi | Tanggal Pengesahan | |
| 005/AJ-Tel-U/II/SDM.3/2026 | 0 | ||
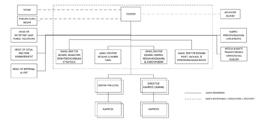
| Direktorat/Fakultas | Universitas Telkom | ||
| Bagian/Prodi | |||
| Urusan | |||
| Jabatan | Wakil Rektor Bidang Riset, Inovasi, Dan Kerja Sama | ||
| Kelompok Bidang | 1. |
||
| Atasan Langsung | |||
| Bawahan Langsung | |||
| IKHTISAR JABATAN | Memimpin Dan Mengoordinasikan Perumusan Serta Pelaksanaan Strategi Penelitian, Inovasi, Hilirisasi, Pengabdian Masyarakat, Dan Pengembangan Bisnis Universitas Guna Menghasilkan Keunggulan Akademik Dan Dampak Sosial-ekonomi Yang Berkelanjutan. Jabatan Ini Berperan Dalam Mengintegrasikan Ekosistem Riset Dan Inovasi, Memperkuat Kolaborasi Nasional Dan Internasional, Mengoptimalkan Komersialisasi Hasil Riset, Serta Mendukung Peningkatan Reputasi Dan Daya Saing Universitas Di Tingkat Global. | ||
| TUJUAN DAN TANGGUNG JAWAB |
1. Memastikan pengelolaan riset, inovasi, hilirisasi, pengabdian masyarakat, dan pengembangan bisnis berjalan secara terarah, terintegrasi, dan berdaya saing global untuk mendukung visi dan strategi universitas. Dalam pelaksanaannya, jabatan ini bertanggung jawab meningkatkan kualitas dan produktivitas riset, mempercepat komersialisasi dan pemanfaatan hasil penelitian, memperluas jejaring kemitraan strategis, mengelola kekayaan intelektual dan portofolio inovasi, serta memastikan monitoring, evaluasi, dan pelaporan kinerja yang transparan dan berbasis data guna mendukung pengambilan keputusan pimpinan secara efektif dan berkelanjutan. |
||
| URAIAN TUGAS |
1. Merumuskan dan mengoordinasikan kebijakan serta strategi penelitian, inovasi, hilirisasi, dan pengabdian kepada masyarakat untuk memastikan keselarasan dengan rencana strategis universitas dan standar nasional maupun internasional; 2. engembangkan dan mengarahkan pelaksanaan penelitian unggulan, kolaborasi riset, serta pengabdian masyarakat agar menghasilkan output ilmiah, inovasi, dan dampak sosial yang terukur; 3. Mengelola ekosistem inovasi melalui Bandung Techno Park dan pengembangan bisnis untuk mempercepat hilirisasi riset, komersialisasi teknologi, serta peningkatan pendapatan Non-Tuition Fee (NTF); 4. Mengoptimalkan tata kelola HKI, paten, dan portofolio komersialisasi untuk mendukung peningkatan daya saing dan keberlanjutan inovasi universitas; 5. Mengkoordinasikan kegiatan SDGs melalui SDGs Center guna memastikan kontribusi universitas dalam pencapaian tujuan pembangunan berkelanjutan dan reputasi global; 6. Mengelola Research Institute dan Center of Excellence (CoE) untuk mendorong keunggulan riset multidisiplin dan memperkuat jejaring kolaborasi nasional maupun internasional; 7. enginisiasi dan memperluas kemitraan nasional dan internasional dengan institusi pendidikan, industri, pemerintah, serta lembaga pendanaan guna mendukung pendanaan riset, inovasi, dan pengabdian masyarakat; 8. Mengawasi tata kelola program, risiko, evaluasi, dan pelaporan kinerja pada seluruh direktorat/unit di bawah koordinasinya untuk memastikan efektivitas, kepatuhan, dan transparansi; 9. Menginisiasi dan mengelola MoU/MoA, koordinasi aktivitas kolaborasi, dan komunikasi dengan mitra dalam dan luar lingkungan non-akademik; dan 10. Menyampaikan laporan kinerja dan rekomendasi strategis kepada Rektor sebagai dasar pengambilan keputusan berbasis data dalam bidang penelitian, inovasi, hilirisasi, pengabdian masyarakat, pengembangan bisnis, dan SDGs. |
||
| WEWENANG | |||
| HUBUNGAN KERJA | INTERNAL | DALAM HAL | |
| EKSTERNAL | DALAM HAL | ||
| MASALAH DAN TANTANGAN KERJA | |||
| INDIKATOR KEBERHASILAN | |||
| NO | SUB-SUB KOMPETENSI | PROFICIENCY LEVEL (PL) | KEY INDICATOR |
| SPESIFIKASI JABATAN | |||
| STRUKTUR ORGANISASI | |||