DESKRIPSI JABATAN
(JOB DESCRIPTION)
| IDENTIFIKASI | |||
|---|---|---|---|
| Kode | Revisi | Tanggal Pengesahan | |
| 003/AJ-Tel-U/II/SDM.3/2026 | 0 | ||
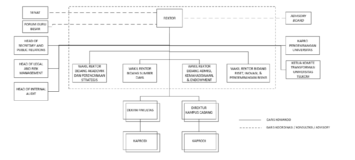
| Direktorat/Fakultas | Universitas Telkom | ||
| Bagian/Prodi | |||
| Urusan | |||
| Jabatan | Wakil Rektor Bidang Sumber Daya | ||
| Kelompok Bidang | 1. |
||
| Atasan Langsung | |||
| Bawahan Langsung | |||
| IKHTISAR JABATAN | Wakil Rektor Bidang Sumber Daya Memimpin Dan Mengoordinasikan Perumusan, Pelaksanaan, Serta Pengendalian Kebijakan Pengelolaan Sumber Daya Universitas Yang Meliputi SDM, Keuangan, Aset, Dan Teknologi Informasi Guna Menjamin Ketersediaan Sumber Daya Yang Optimal, Efisien, Dan Berdaya Saing Global. Jabatan Ini Berperan Dalam Memastikan Tata Kelola Yang Transparan Dan Akuntabel, Mendukung Transformasi Digital, Meningkatkan Kualitas Layanan Institusi, Serta Mengintegrasikan Seluruh Fungsi Sumber Daya Untuk Menunjang Pencapaian Strategi Dan Kinerja Universitas Secara Berkelanjutan. | ||
| TUJUAN DAN TANGGUNG JAWAB |
1. Memastikan pengelolaan sumber daya universitas yang meliputi SDM, keuangan, aset, dan teknologi informasi berjalan secara efektif, efisien, transparan, dan berkelanjutan untuk mendukung pencapaian visi, misi, serta strategi universitas. Dalam pelaksanaannya, jabatan ini bertanggung jawab menjamin ketersediaan dan optimalisasi sumber daya, mengintegrasikan perencanaan dan pemanfaatan sumber daya secara terpadu, memastikan kepatuhan melalui monitoring, evaluasi, dan audit, mengelola risiko organisasi, serta menyediakan rekomendasi strategis berbasis data guna mendukung pengambilan keputusan pimpinan secara tepat dan akuntabel. |
||
| URAIAN TUGAS |
1. Merumuskan dan mengendalikan kebijakan pengelolaan SDM untuk memastikan ketersediaan talenta yang kompeten, adaptif, dan berdaya saing global; 2. Mengelola strategi dan kebijakan keuangan untuk menjamin keberlanjutan pendanaan dan tata kelola finansial yang transparan, akuntabel, dan kompetitif secara internasional; 3. Mengarahkan pengadaan, pengelolaan, dan optimalisasi aset serta logistik untuk menghasilkan infrastruktur akademik yang modern, efisien, dan siap mendukung kolaborasi internasional; 4. Mengelola strategi dan layanan teknologi informasi untuk memastikan kesiapan digital universitas dan mendukung pembelajaran, tata kelola, dan kolaborasi internasional; 5. Mengintegrasikan perencanaan SDM, keuangan, aset, dan TI untuk memastikan efektivitas penggunaan sumber daya dalam mendukung strategi internasionalisasi dan capaian kinerja universitas; 6. Memastikan pelaksanaan monitoring, evaluasi, dan audit internal atas seluruh fungsi sumber daya untuk menjamin kepatuhan, kualitas proses, dan keunggulan operasional berkelanjutan; 7. Mengembangkan kebijakan dan ekosistem pengelolaan risiko di bidang sumber daya untuk memperkuat ketahanan institusi dalam menghadapi tuntutan global dan transformasi digital; dan 8. Menyusun rekomendasi strategis dan melaporkan kinerja bidang sumber daya untuk mendukung pengambilan keputusan Rektor secara cepat, tepat, dan berbasis bukti. |
||
| WEWENANG | |||
| HUBUNGAN KERJA | INTERNAL | DALAM HAL | |
| EKSTERNAL | DALAM HAL | ||
| MASALAH DAN TANTANGAN KERJA | |||
| INDIKATOR KEBERHASILAN | |||
| NO | SUB-SUB KOMPETENSI | PROFICIENCY LEVEL (PL) | KEY INDICATOR |
| SPESIFIKASI JABATAN | |||
| STRUKTUR ORGANISASI | |||